tater Posted August 25, 2022 Share Posted August 25, 2022 https://www.stokespace.com/ TSTO. Booster lands F9 style. The upper stage is shown in this image ^^^. It lands propulsively, fairing clamshells open. They don't have a ton of money... but I looked at the job postings, and they are in Kent, WA. Hmmm. Quote Link to comment Share on other sites More sharing options...
Beccab Posted August 25, 2022 Share Posted August 25, 2022 17 minutes ago, tater said: https://www.stokespace.com/ TSTO. Booster lands F9 style. The upper stage is shown in this image ^^^. It lands propulsively, fairing clamshells open. They don't have a ton of money... but I looked at the job postings, and they are in Kent, WA. Hmmm. The second stage also has an aerospike, and has started testing recently Quote Link to comment Share on other sites More sharing options...
cubinator Posted August 25, 2022 Share Posted August 25, 2022 I'll have to add them to the list. Quote Link to comment Share on other sites More sharing options...
SunlitZelkova Posted August 26, 2022 Share Posted August 26, 2022 So out of curiosity, what is the logic behind the geography of starting up your own space company? Southern California makes sense, as do Texas and Florida, due to their climate. Having lived three years of my life in Washington and now living just some tens of miles south of the border with it, this doesn’t seem like the place to start a rocket company, unless you are already here for other reasons (Boeing because Boeing and BO because Amazon, that is, Bezos. I can’t think of any other active space companies here). Quote Link to comment Share on other sites More sharing options...
kerbiloid Posted August 26, 2022 Share Posted August 26, 2022 (edited) 2 hours ago, SunlitZelkova said: So out of curiosity, what is the logic behind the geography of starting up your own space company? As Space-X is already providing the best rockets evah(tm). so probably in the US jurisdiction any place for new company is equally bad, as only national political reasons can take one under umbrella. Edited August 26, 2022 by kerbiloid Quote Link to comment Share on other sites More sharing options...
wumpus Posted August 26, 2022 Share Posted August 26, 2022 18 hours ago, SunlitZelkova said: So out of curiosity, what is the logic behind the geography of starting up your own space company? Southern California makes sense, as do Texas and Florida, due to their climate. Having lived three years of my life in Washington and now living just some tens of miles south of the border with it, this doesn’t seem like the place to start a rocket company, unless you are already here for other reasons (Boeing because Boeing and BO because Amazon, that is, Bezos. I can’t think of any other active space companies here). The question implies that all functions are going to be done close together. Current practice appears to ignore it. Launching rockets: you typically want coastal areas as close to the Equator as possible, with clear ranges west and south (if you focus on southern routes, lattitude matters much less). Elevation would be a plus as well, but only if you are free to crash things west and south of you. Constructing rockets: You want areas more tolerant to "overpressure events", probably less densely populated. Local wages are likely less important than most other industries, as you want highly specialized labor and might have to relocate a good chunk of you workforce. Designing rockets: Geography becomes irrelevant (except if you have send your people to the other two sites regularly). Labor is even more specialized, and probably found in big cities. College towns might also be preferred, as you presumably can get your highly educated workforce to move there and often have a lower cost of living. Other considerations: Since rockets, like airplanes, run on money you might want to locate as many of the above in political districts that like to shower rocket companies with pork/tax breaks. This starts out huge as any fundraising angle is critical, and a successful rocket program will almost certainly make plenty of lobbying connections. Quote Link to comment Share on other sites More sharing options...
Beccab Posted August 26, 2022 Share Posted August 26, 2022 16 minutes ago, wumpus said: The question implies that all functions are going to be done close together. Current practice appears to ignore it. Launching rockets: you typically want coastal areas as close to the Equator as possible, with clear ranges west and south (if you focus on southern routes, lattitude matters much less). Elevation would be a plus as well, but only if you are free to crash things west and south of you. Constructing rockets: You want areas more tolerant to "overpressure events", probably less densely populated. Local wages are likely less important than most other industries, as you want highly specialized labor and might have to relocate a good chunk of you workforce. Designing rockets: Geography becomes irrelevant (except if you have send your people to the other two sites regularly). Labor is even more specialized, and probably found in big cities. College towns might also be preferred, as you presumably can get your highly educated workforce to move there and often have a lower cost of living. Other considerations: Since rockets, like airplanes, run on money you might want to locate as many of the above in political districts that like to shower rocket companies with pork/tax breaks. This starts out huge as any fundraising angle is critical, and a successful rocket program will almost certainly make plenty of lobbying connections. Adding to the list, another thing the first two points need to take in consideration is closeness to airports, highways and possibly waterways - needed to transport satellites, spacecraft parts and sometimes whole rocket stages Quote Link to comment Share on other sites More sharing options...
tater Posted August 26, 2022 Author Share Posted August 26, 2022 Ex-BO employee is a co-founder. perhaps he has a life—wife has a job in the area, kids in school, etc—and other founder was “meh, where ever is cool.” Not all decisions are strategic. Quote Link to comment Share on other sites More sharing options...
SpaceFace545 Posted August 26, 2022 Share Posted August 26, 2022 On 8/25/2022 at 1:57 PM, Beccab said: The second stage also has an aerospike I think it is more of a ring of small engines around a heatshield than an aerospike. Quote Link to comment Share on other sites More sharing options...
cubinator Posted August 27, 2022 Share Posted August 27, 2022 5 hours ago, SpaceFace545 said: I think it is more of a ring of small engines around a heatshield than an aerospike. That sounds pretty much like what an aerospike is to me. Quote Link to comment Share on other sites More sharing options...
SpaceFace545 Posted August 27, 2022 Share Posted August 27, 2022 2 hours ago, cubinator said: That sounds pretty much like what an aerospike is to me. I mean it's literally a ring of engines around a standard heat shield Quote Link to comment Share on other sites More sharing options...
tater Posted August 27, 2022 Author Share Posted August 27, 2022 1 hour ago, SpaceFace545 said: I mean it's literally a ring of engines around a standard heat shield Plug engine concepts were basically that. Quote Link to comment Share on other sites More sharing options...
SpaceFace545 Posted August 27, 2022 Share Posted August 27, 2022 4 minutes ago, tater said: Plug engine concepts were basically that. Okay great but this is literally a heat shield surrounded by miniature engines. No aerospike nozzle, no plug, just a simple slightly convex heatshield with a ring of nozzles. The only other example I can think of is Roton’s engine situation. Quote Link to comment Share on other sites More sharing options...
tater Posted August 27, 2022 Author Share Posted August 27, 2022 (edited) 1 hour ago, SpaceFace545 said: Okay great but this is literally a heat shield surrounded by miniature engines. No aerospike nozzle, no plug, just a simple slightly convex heatshield with a ring of nozzles. The only other example I can think of is Roton’s engine situation. Could be, it's very hard to tell from that image with no heatshield. Crappy image from their website animation: Looking maybe like a plug. Again, no real images yet. This is their vacuum engine, AND the landing engines (that animation shows landing). Edited August 27, 2022 by tater Quote Link to comment Share on other sites More sharing options...
StrandedonEarth Posted August 27, 2022 Share Posted August 27, 2022 Interesting choice of names; getting stoked for StokeSpace. Fairing to double as airbrake is an elegant solution. Quote Link to comment Share on other sites More sharing options...
tater Posted September 14, 2022 Author Share Posted September 14, 2022 Quote Link to comment Share on other sites More sharing options...
sevenperforce Posted September 14, 2022 Share Posted September 14, 2022 Upper stage is hydrolox which is a good choice for second stages but tough to work with for a startup. 12 hours ago, tater said: They look like bespoke designs to me. Also clearly very fuel-rich, perhaps for low-throttle setting. Feels very much like something I would design in KSP. Not that that's a bad thing. I wonder if they are going to have articulating shields of some kind for the engines or if they'll just re-enter raw. One possible solution would be to vent gas through the nozzles during re-entry at low pressure to create a boundary layer... Quote Link to comment Share on other sites More sharing options...
tater Posted September 14, 2022 Author Share Posted September 14, 2022 32 minutes ago, sevenperforce said: One possible solution would be to vent gas through the nozzles during re-entry at low pressure to create a boundary layer... I have it bookmarked someplace, but there is a video of a talk at a conference by a SpaceX guy on the reentry effects of engines—canted, or at least not centerline engines moving the bowshock just far enough away from the vehicle to substantially reduce heating. In this context it was the canted engines on Crew Dragon. Quote Link to comment Share on other sites More sharing options...
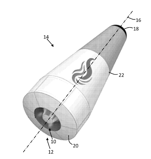
sevenperforce Posted September 14, 2022 Share Posted September 14, 2022 11 minutes ago, sevenperforce said: One possible solution would be to vent gas through the nozzles during re-entry at low pressure to create a boundary layer... Well it looks like I'm pretty damn smart. Patent AU-2020398126-A1 Quote An active-cooled heat shield system includes a heat shield, a tank, a pump, a heat exchanger, and a turbine. The heat exchanger receives the pressurized coolant from the pump, transfers heat from the heat shield to the pressurized coolant to generate a heated fluid, and outputs the heated fluid. Excerpts from the patent disclosures: Spoiler The heat shield, the tank, the pump, the heat exchanger, and the turbine are configured such that an amount of energy supplied to the coolant by the heat exchanger is at least sufficient to supply the turbine with an amount of power required to drive the pump The heat shield, the tank, the pump, the heat exchanger, and the burbine are configured such that an amount of energy transferred to the coolant by the heat exchanger is at least sufficient to sustain operation of the heat shield system The coolant is [either] an active coolant, a liquid coolant, [or] a cryogenic coolant The heat exchanger and the heat shield are configured such that flow of the coolant through the heat exchanger maintains acceptable temperatures on the heat shield while the vehicle re-enters a planetary atmosphere The heat shield system and the propulsion engine share a multi-purpose component The pump of the heat shield system is a fuel pump of the propulsion engine The vehicle further includes an exhaust conduit through which at least a portion of the heated fluid output from the turbine exits the upper stage rocket In some embodiments, the second stage rocket includes an exhaust conduit through which the heated fluid exits the second stage rocket (e.g., for providing thrust). Additionally or alternatively, the heated fluid output from the outlet of the turbine can be used to pressurize or power an auxiliary system (e.g., a tank, a gas thruster, a transpiration cooling system, an APU, etc.). The heat exchanger serves a dual purpose of cooling the windward side of the second stage rocket, and adding energy to the coolant which is used to drive the turbine and then power the pump. The heated fluid exiting the turbine is expelled out of the second stage rocket into the external environment or used for another purpose. In some embodiments, the engine includes at least a pump and a turbine which push coolant through a heat exchanger of the engine. In such embodiments, the fuel pump and the turbine of the engine serve dual-purposes by functioning as the pump and the turbine of the heat shield system, respectively, and the heat exchanger of the engine forms at least a portion of the heat exchanger of the heat shield system. And it looks like @tater is right about it being an aerospike. Here's the patent for that. The whole design is, frankly, pretty genius. It also explains more clearly why they are using hydrolox for their upper stage. This second stage is, in essence, an integrated expander cycle engine and actively-cooled heat shield. You will recall that an expander cycle engine like the RL-10 pumps liquid hydrogen around the nozzle at high pressure, superheating it, and then lets that superheated supercritical high-pressure hydrogen expand through a turbine. The turbine runs the turbopump which pressurizes the liquid hydrogen in the first place, and the turbine outlet runs into the combustion chamber directly. This is a very very efficient design, since all of the working fluid passes through the combustion chamber and is fully burned. However, it does have one major disadvantage: due to the square-cube law, the amount of nozzle area available for the heat exchanger won't increase as fast as the power needs of the turbine, putting a maximum possible size on such an engine. That's why the SLS EUS uses a cluster of four RL-10s rather than just one much larger expander-cycle hydrolox engine. The square-cube problem can be solved, however, by using an annular or linear aerospike nozzle, which provides ample heat exchanger area. What Stoke is proposing to do is pretty smart. They are using a single-turbine aerospike expander cycle hydrolox engine, but the aerospike nozzle surface is ALSO the actively-cooled aft heat shield. Thus, when the engine is running, it is operating like a normal expander cycle engine, but during re-entry, the heat from re-entry is used to operate the exact same turbine and pump used for the engine, but without any liquid oxygen flowing. As a result what is exhausted into the combustion chamber is merely gaseous hydrogen, which bleeds out through the nozzle. The hydrogen bleed produces thrust and creates a boundary layer of gas which further aids cooling, and part of the gas can be tapped off to maintain autogenous press, provide hot-gas RCS, and the like. Absolutely groundbreaking. Really solves SO many problems. It does mean you have to carry more liquid hydrogen, but a fluffy upper stage is better for re-entry anyway. Quote Link to comment Share on other sites More sharing options...
sevenperforce Posted September 14, 2022 Share Posted September 14, 2022 Some additional notes from wikipedia, LinkedIN, and elsewhere... It looks like the putative upper stage design is two turbopumps with fifteen propulsion chambers. Strange to have fifteen propulsion chambers; I would have expected an even number so that the engines could be shut off in pairs to reduce deep throttle requirements, but expander cycles tend to handle deep throttling pretty well, so there's that. It's also possible that they're simply starting small and only doing 15 active chambers but the final design has 30 active chambers. Based on some of their tweets it seems like both stages will be hydrolox, but I'm not sure. Diameter appears to be around the same as Falcon 9, maybe slightly smaller. Here's one cool photo with a notation about the actively-cooled heat shield: From the patent disclosure it sounds like the entire engine cluster may gimbal, which is odd because i figured it would be simpler to just use differential throttling for pointing and RCS for roll control. Quote Link to comment Share on other sites More sharing options...
StrandedonEarth Posted September 14, 2022 Share Posted September 14, 2022 3 hours ago, sevenperforce said: Some additional notes from wikipedia, LinkedIN, and elsewhere... It looks like the putative upper stage design is two turbopumps with fifteen propulsion chambers. Strange to have fifteen propulsion chambers; I would have expected an even number so that the engines could be shut off in pairs to reduce deep throttle requirements, but expander cycles tend to handle deep throttling pretty well, so there's that. It's also possible that they're simply starting small and only doing 15 active chambers but the final design has 30 active chambers. Based on some of their tweets it seems like both stages will be hydrolox, but I'm not sure. Diameter appears to be around the same as Falcon 9, maybe slightly smaller. Here's one cool photo with a notation about the actively-cooled heat shield: From the patent disclosure it sounds like the entire engine cluster may gimbal, which is odd because i figured it would be simpler to just use differential throttling for pointing and RCS for roll control. Two thoughts: 1. They could shut down three chambers to remain symmetrical. Or the asymmetry of losing one chamber may be within the control authority to handle. 2. Probably get more control authority with gimballing than throttling close-together small chambers. But that’s just a gut feeling that I haven’t backed up by doing the math (no numbers to work with…) Quote Link to comment Share on other sites More sharing options...
sevenperforce Posted September 23, 2022 Share Posted September 23, 2022 Interesting...from this article, it's stated that the very hefty first stage will use methalox, not hydrolox: https://universemagazine.com/en/aerospace-startup-tests-reusable-rocket-engines/ Quote It is also known that the second stage of the STOKE Space rocket will be equipped with a drop-down head fairing (Rocket Lab is currently working on something similar), and its engine will use hydrogen as fuel. As for the first stage, its power units will run on methane and the same landing scheme will be applied for it as for the Falcon 9. At the same time, so far STOKE Space has not disclosed the figures of the planned carrying capacity of its carrier. Not particularly well-written so I don't know how much I trust it, but it might have been something discussed in one of the presentations that I missed. I'm still pining for that fully-reusable sustainer-architecture TSTO of lore, though. I suppose that once they have it flying as a proper TSTO, they could start experimenting with making the upper stage an SSTO using hydrogen drop tanks like the ROMBUS concept. Or, you know, make the drop tanks crossfed side boosters that use the interface with the side of the main ship as an intake ramp for air-augmentation. . . . Quote Link to comment Share on other sites More sharing options...
tater Posted September 27, 2022 Author Share Posted September 27, 2022 Quote Link to comment Share on other sites More sharing options...
tater Posted October 10, 2022 Author Share Posted October 10, 2022 Somehow missed these: Quote Link to comment Share on other sites More sharing options...
Rutabaga22 Posted October 10, 2022 Share Posted October 10, 2022 Really cool to see a new company pursuing an aerospike! Can't wait to see an actual aerospike an action. Quote Link to comment Share on other sites More sharing options...
Recommended Posts
Join the conversation
You can post now and register later. If you have an account, sign in now to post with your account.
Note: Your post will require moderator approval before it will be visible.